Кузов и покрытие. Ремонты кузова.
Общие сведения
Незначительные вмятины можно устранять, не повреждая лакокрасочное покрытие. Вмятина устраняется изнутри, используя специальные правочные инструменты. Предварительные условия заключаются в наличии определенной диагностики, определении правильного способа ремонта и в том, что техник имеет достаточный опыт в использовании специальных инструментов и знает рабочие материалы.
- Этот вариант ограничивается теми поверхностями кузова, которые доступными с обеих сторон. Эта методика ремонта редко используется на элементах кузова с двойной обшивкой или закрытых профилях кузова. То же самое относится к крайним зонам, кромкам и сгибам элементов кузова, имеющим повышенную жесткость.
- Удовлетворительные результаты возможны для устранения только незначительных вмятин, которые малы и имеют малый радиус деформации. Поэтому этот метод особенно подходит для повреждений, возникающих в результате града, при парковании и транспортировке.
Экономические соображения
Экономично ли выполнять устранение вмятин без повреждения лакокрасочного покрытия, зависит от:
- Площади и глубины вмятины.
- Доступа к зоне ремонта.
- Жесткости зоны ремонта.
- Пригодности материала
- Количества вмятин на конкретном участке панели кузова.
- Имеется ли уже какое-либо повреждение лакокрасочного покрытия.
Протяженности повреждения
Метод ремонта подходит для вмятин диаметром приблизительно до 50 мм.
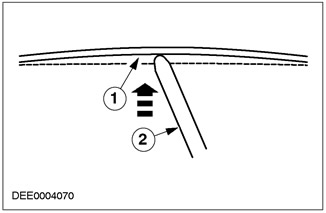
Оценка повреждения в соответствии с размером вмятины


| Поз. | № Запасной Части | Наименование |
| 1 | — | Центр вмятины |
| 2 | — | Край вмятины |
Предварительное требование для выполнения ремонта
Материал в центре вмятины не должен быть растянут.
Процедура ремонта
- Выполните диагностику поврежденной зоны.
- Отметьте вмятину.
- Подготовьте зону, подлежащую ремонту.
- Установите регулируемую лампу в требуемое положение.
- Восстановите начальную форму вмятины.
- Замените материал защиты от коррозии.
- Выполните проверку качества.
Ремонтные инструменты/ средства
- Специальные правочные инструменты для удаления вмятин
- Регулируемая лампа
Процедура ремонта
1. Остановитесь на методике ремонта.
2. Отметьте вмятину
ПРИМЕЧАНИЕ: Не используйте маркер, содержащий растворитель (повреждение лакокрасочного покрытия).
- Вмятина отмечается в зоне ремонта, чтобы облегчить распознавание.
3. Подготовьте зону ремонта
- Следует убедиться в доступности внутренней части вмятины. Не следует делать ремонтные отверстия.
- Очистите поврежденную зону кузова. Для положительного результата важна хорошая визуальная проверка.
- Отполируйте ремонтируемую поверхность, если она матовая. Процедуру ремонта можно точно проверить только, если имеется достаточно отражения света.
4. Установите регулируемую лампу в требуемое положение.
- Регулируемую лампу следует расположить и отрегулировать таким образом, чтобы вмятина могла быть ясно видна в отражении на лакокрасочном покрытии (овальная форма).
- При увеличении надавливания на вмятину овальная форма превращается в линии, которые пересекают друг друга. Место пересечения линий — это точка надавливания для правочного инструмента.
Отражение света при надавливании


| Поз. | № Запасной Части | Наименование |
| 1 | — | Отсутствие надавливания на вмятину |
| 2 | — | Давление, прикладываемое к вмятине |
5. Расположение правочного инструмента
- Расположите кончик правочного инструмента на краю вмятины.
- При перемещении назад и вперед при легком надавливании, прикладываемом к вмятине кончиком инструмента, отраженный свет показывает положение правочного инструмента.
6. Принцип работы при приложении давления
- Работа сводится к формированию полукруга, при работе хронологически.
- Чтобы восстановить поверхность, все, что необходимо, это работать над одной половиной вмятины.
- Незадействованная половина вмятины восстанавливается сама, за счет натяжения, создаваемого давлением.
Схема


| Поз. | № Запасной Части | Наименование |
| 1 | — | Последовательность приложения давления |
| 2 | — | Исходное положение |
ПРИМЕЧАНИЕ: Никогда не начинайте с центра вмятины. Если начать работать с центра вмятины, край будет приподнята и останется видимым, как высокий участок (растяжение материала). Этот приподнятый край может быть восстановлена только после длительной доработки.
Высокий край


| Поз. | № Запасной Части | Наименование |
| 1 | — | Высокие края |
| 2 | — | Правочный инструмент |
Исключение:
- Вмятины с острыми краями с минимальным растяжением материала сначала выправляются в центре.
- После выпрессовывания вмятины, можно увидеть слегка выпуклые участки. Это вызывается наличием избыточной стали в центре вмятины вследствие растяжения материала.
- Используйте пластмассовую выколотку, чтобы выправить слегка выпуклый участок.
Зона нестабильного надавливания
При работе с большими, относительно слабыми участками кузова траектория правочного инструмента при приложении давления соответственно больше. Процесс восстановления будет дольше.
Вмятина с большой площадью


| Поз. | № Запасной Части | Наименование |
| 1 | — | Траектория восстановления формы |
| 2 | — | Правочный инструмент |
Зона стабильного надавливания
ПРИМЕЧАНИЕ: Участки около внутреннего усиления обрабатывайте только с легким надавливанием, таким образом, чтобы не образовывались высокие зоны (растяжение материала).
Зоны кузова со стабильным надавливанием с внутренними связями имеют намного более стабильную поверхность, чем зоны со слабым надавливанием. Здесь требуются только короткие движения надавливания, потому что сталь кузова менее пружинящая.
Будьте аккуратны при выполнении процедуры надавливания, если используете инструмент с малой поверхностью контакта.
Оптическая проверка:
- Полностью снять все остающиеся неровности возможно, только производя непрерывные визуальные проверки поверхности, используя регулируемую лампу. Кроме того, к концу правочной процедуры, вмятину следует проверить несколько раз при взгляде с различных направлений. Чтобы сделать это, измените положение примерно на 90°.
Выдавливание вмятины около связи


| Поз. | № Запасной Части | Наименование |
| 1 | — | Поверхность крыши |
| 2 | — | Правочный инструмент |
| 3 | — | Валик герметика |
| 4 | — | Связь крыши |
Опора (точка поворота) правочного инструмента, использующего S-образный крюк


| Поз. | № Запасной Части | Наименование |
| 1 | — | Повернут с использованием S-образного крюка |
| 2 | — | Правочный инструмент |
- Чтобы сделать возможным приложить силу в зоне крыши, следует использовать опору в форме S-образного крюка.
- Отпустите обшивку потолка только по месту, в зависимости от количества вмятин и их расположения.
- Доступ к вмятинам около внутренних элементов можно получить, сняв элемент (лампу салона).
- Проверьте доступность перед началом ремонта, если вмятина располагается около люка крыши.
- Ремонт около внутренних связей производится, используя специальные инструменты, входящие в комплект инструментов.
- Снимите валик герметика на связи, используя металлический шпатель, таким образом, чтобы можно было вставить правочный инструмент в требуемое положение.
Специальный рычаг для вмятин около внутренних связей


| Поз. | № Запасной Части | Наименование |
| 1 | — | Точка контакта |
| 2 | — | Направление перемещения |
Зона двери
- Вмятины в верхней половине двери обычно можно выправить без снятия отделки салона.
- Когда окно открыто, доступ обеспечивается через полость окна. Чтобы предотвратить повреждение окна, в его полость следует вставить защитный блок.
- Пластмассовый клин обеспечивает доступ.
Оборудование


| Поз. | № Запасной Части | Наименование |
| 1 | — | Защитный блок |
| 2 | — | Пластмассовый клин |
Давление в этом случае прикладывается без использования дополнительной опоры, просто поворачивая согнутый правочный инструмент.
Выпрессовывание вмятины через канал окна


Капот
- Капот перемещается в рабочее положение, используя телескопические упоры и удерживается в требуемом положении, используя «резиновые шнуры».
- В зоне связей валик герметика следует частично открыть, используя металлический шпатель, чтобы обеспечить доступ к вмятине.
Восстановление защиты от коррозии
Все ремонтируемые внутренние зоны должны быть доработаны, где имеется доступ, должно быть восстановлено лакокрасочное покрытие.
- Очистите внутреннюю зону, используя состав для удаления силикона.
- Загрунтуйте и окрасьте внутреннюю ремонтную зону.
- Наконец, в места, где ремонт не возможен (нет доступа), впрысните материал для защиты полостей.
Контроль качества
Чтобы обеспечить качество ремонта, которое удовлетворяет заводским стандартам, следует соблюдать следующие моменты:
- Проверьте зону ремонта на наличие неровностей. Сделайте это оптически, смотря на поверхность под различными углами.
- Окрасьте отремонтированную зону поверхности, очистите ее и при необходимости отполируйте ее.
- Проверьте правильность установки подсоединенных элементов и отделка салона, а также отсутствие их повреждения.